Diagrama de fusíveis e caixa de relé – Toyota Land Cruiser Prado (J90)
Aplica-se a veículos novos em anos:
1996, 1997, 1998, 1999, 2000, 2001, 2002.
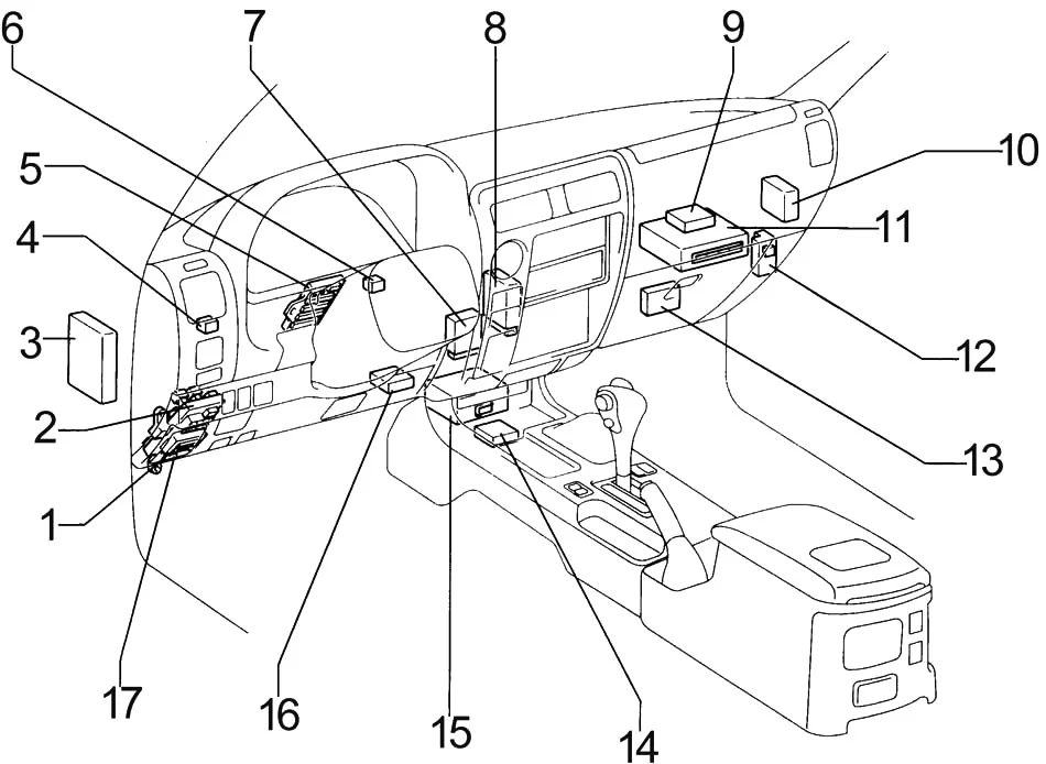
Compartimento do passageiro
Trânsito pela esquerda
- Relé de integração
- Caixa de fusíveis
- Cruise control ECU
- Relé de selecção da bomba de combustível (5VZ-FE com depósito de combustível adicional)
- Centro J/B
- Amplificador de chave transponder (Europa)
- Computador chave transponder (Europa)
- Relé de controlo automático de antena
- Emissões ECU (3RZ-F)
Temporizador do aquecedor (1KZ-T, 3L) - ABS ECU
- ECU do motor (M/T)
Motor e ECT ECU (A/T) (5VZ-FE, 3RZ-FE, 1KZ-TE) - Caixa de retransmissão
- Amplificador A/C
- Sensor de desaceleração ABS
- Montagem do sensor de airbag
- Relé de luz diurna contínua
- Relé de abertura do circuito
Volante à direita
- ABS ECU
- Amplificador de chave transponder (Austrália, Europa)
- Caixa de fusíveis
- Relé de integração
- Relé de abertura do circuito
- Relé de selecção da bomba de combustível (5VZ-FE, 3RZ-FE com depósito de combustível adicional)
- Sensor de ABS de atraso
- Montagem do sensor de airbag
- ECU ECU (3RZ-F)
Temporizador de pré-aquecimento (3L) - Reforço de A/C
- Cruise control ECU
- Caixa de retransmissão
- ECU do motor (M/T)
Motor e ECT ECU (A/T) (5VZ-FE, 3RZ-FE, 1KZ-TE) - Relé de controlo automático de antena
- Transponder Key Computer (Austrália, Europa)
- Centro J/B
5 portas
3 portas
- Relé de controlo do telhado lunar
- Controlador de fechadura de porta sem fios (GCC)
- Relé do limpa pára-brisas traseiro
- Relé de ar condicionado traseiro
- 4WD controlo ECU
- Relé aquecedor traseiro
Caixa de fusíveis no compartimento de passageiros
O painel de fusíveis está localizado atrás da tampa do painel de instrumentos do lado do condutor.
Diagrama (Tipo 1)
| Número | Amps | Descrição |
| 1 | 15 | Aquecimento dos bancos |
| 2 | 15 | Acendedor de cigarros, antena, rádio e leitor, unidade de sensor de airbag, interruptor de controlo remoto espelhado |
| 3 | 15 | Luz traseira de nevoeiro, ABS ECU, bloqueio sem fios ECU |
| 4 | 20 | Unidade de controlo 4WD |
| 5 | 10 | Indicador de direcção e luz de aviso |
| 6 | 10 | Medidor combinado, luz de inversão, alternador, relé do aquecedor traseiro, luz de aviso ABS, luz de controlo de cruzeiro, contador de acessórios, controlo de 4WD, interruptor de posição ‘P’, indicador de depósito de combustível, relé de potência, relé do desembaçador, interruptor do desembaçador do vidro traseiro, lâmpada luz de aviso de cinto de segurança, luz de tecto da porta, interruptor de arranque neutro |
| 7 | 15 | Antena, ABS ECU, controlo de cruzeiro ECU, controlo de guincho e interruptor de controlo, interruptor de aquecimento de espelho, relé de aquecimento de espelho |
| 8 | 20 | Limpa pára-brisas dianteiro e lavador, limpa pára-brisas traseiro e lavador |
| 9 | 7,5 | Conjunto de sensor de airbag, relé EFI, luz de aviso de carga, computador com chave transponder, sistema de injecção de combustível multiponto/sistema de injecção de combustível multiponto sequencial, domador de pré-aquecimento, carburador (3RZ-F) |
| 10 | 30 | Alimentação do banco, relé de integração (fechadura da porta), vidros eléctricos, telhado eléctrico da lua |
| Estafeta | ||
| R1 | Relé de integração | |
| Estafeta (lado posterior) | ||
| R1 | Trompa | |
| R2 | Ligar o pisca-pisca de sinal | |
| R3 | Relé de potência | |
| R4 | Fogger | |
Diagrama (Tipo 2)
| Número | Amps [A] | Descrição |
| 1 | 15 | Acendedor de cigarros, rádio e leitor, relógio, sistema de ar condicionado, unidade de sensor de airbag, interruptor de controlo remoto espelhado, cinto cinto de segurança |
| 2 | 10 | Conjunto de sensor de airbag, relé EFI, luz de aviso de carga, computador com chave transponder, sistema de injecção de combustível multiponto/sistema de injecção de combustível multiponto sequencial, temporizador de pré-aquecimento |
| 3 | 10 | Relógio |
| 4 | 10 | Medidor combinado, luz de inversão, alternador, relé do aquecedor traseiro, luz de aviso ABS, luz de controlo de cruzeiro, contador de acessórios, controlo de 4WD, interruptor de posição ‘P’, indicador de depósito de combustível, relé de potência, relé do desembaçador, interruptor do desembaçador do vidro traseiro, lâmpada luz de aviso de cinto de segurança, luz de tecto da porta, interruptor de arranque neutro |
| 5 | 15 | Aquecimento dos bancos |
| 6 | 15 | Luzes de emergência, buzinas |
| 7 | 20 | Unidade de controlo 4WD |
| 8 | 15 | Luz traseira de nevoeiro, controlo de cruzeiro, bloqueio de ECU sem fios |
| 9 | 5 | Sistema de arranque |
| 10 | 20 | Limpa pára-brisas dianteiro e lavador, limpa pára-brisas traseiro e lavador |
| 11 | 15 | Luzes de paragem, luz de paragem montada em altura, sistema de controlo de fecho de turno, sistema de travagem antibloqueio; |
| 12 | 15 | Sistema de travagem antibloqueio, controlo de cruzeiro |
| 13 | 15 | Vidro traseiro defogger |
| 14 | 10 | Luz traseira, luz de matrícula, controlo do nível dos faróis, luz do tecto da porta, luz do contador, painel de instrumentos e luz de interruptor, relé de luz diurna contínua |
| 15 | 30 | Fornecimento de assentos, relé de integração (fechadura da porta), vidros eléctricos, tecto de abrir eléctrico |
Caixa de retransmissão
| Número | Estafetas |
| R1 | 5VZ-FE, 3RZ-FE com depósito de combustível adicional: Bomba de combustível adicional forçando a condução |
| 1KZ-TE: Válvula de desvio | |
| R2 | – |
Compartimento do motor
- Caixa de fusíveis (gasolina, LHD Diesel)
- Caixa de relé de ar condicionado (gasolina, LHD Diesel (duplo controlo climático))
- Caixa de relé adicional (LHD Diesel)
- Relé de guincho principal (Diesel)
- Relé de limpeza dos faróis
- Caixa de relé A/C (RHD Diesel (duplo controlo climático))
- Caixa de fusíveis (Diesel RHD)
- Relé de ABS (lado esquerdo)
- ABS relé (RHD)
- Caixa de relé adicional (RHD Diesel)
- Relé de guincho principal (gasolina)
Diagrama da caixa de fusíveis no compartimento do motor
| Número | Amps [A] | Descrição |
| 1 | 20 | Tomadas eléctricas |
| 2 | 20 | Tomadas eléctricas |
| 3 | 15 | Luzes de nevoeiro |
| 4 | 15 | Aquecedores de espelhos retrovisores exteriores |
| 5 | 10 | Luz traseira, luz de matrícula, controlo do nível dos faróis, luz do tecto da porta, luz do contador, painel de instrumentos e luz de interruptor, relé de luz diurna contínua |
| 15 | Sistema de travagem antibloqueio | |
| 15 | Sistema de ar condicionado | |
| 6 | 10 | Sistema de ar condicionado |
| 7 | 10 | com DRL: Farol direito (farol baixo) |
| 8 | 10 | com DRL: Farol esquerdo (farol baixo) |
| 9 | 10 | Farol da direita |
| 10 | com DRL: Farol direito (farol alto) | |
| 10 | 10 | Farol esquerdo |
| 10 | com DRL: farol esquerdo (farol alto) | |
| 11 | 10 | Aquecedor viscoso |
| 12 | 7,5 | Sistema de arranque |
| 13 | 20 | Ventilador de arrefecimento eléctrico |
| 14 | 15 | Vidro traseiro defogger |
| 15 | 15 | Luzes de paragem, luz de paragem montada em altura, sistema de controlo de bloqueio de mudanças, sistema de travagem antibloqueio, sistema de controlo da estabilidade do veículo; |
| 16 | 10 | Aquecedor traseiro |
| 7,5 | Sistema de diagnóstico a bordo | |
| 17 | 7,5 | Sistema de carregamento |
| 18 | 20 | Sistema de ar condicionado traseiro |
| 19 | 10 | Iluminação interior, iluminação pessoal, luz de arranque, relógio, sistema áudio, odómetro, antena, luz de aviso de porta aberta, relé de integração |
| 20 | 15 | Sistema de endereços públicos |
| 21 | 15 | Luzes de emergência, buzinas |
| 22 | 15 | Sistema de injecção de combustível multi-porta/ sistema de injecção de combustível multi-ponto sequencial |
| 15 | 1KZ-TE: Sistema de injecção de combustível multi-portas/ sistema de injecção de combustível multi-portas sequencial | |
| 23 | 60 | Sistema de travagem antibloqueio |
| 100 | Sistema de travagem antibloqueio, sistema de controlo da estabilidade do veículo | |
| 24 | 60 | Sistema de ar condicionado |
| 25 | 80 | Diesel: sistema de brilho do motor |
| 26 | 100 | Relé de luz de cauda, “PWR OUTLET (FR)”, “PWR OUTLET (RR)”, “DEFOG”, “STOP”, “ALT-S”, “AM1”, “ABS” |
| 80 | 1KZ-T, 3L: Relé de luz de cauda, “PWR OUTLET (FR)”, “PWR OUTLET (RR)”, “DEFOG”, “STOP”, “ALT-S”, “AM1” | |
| 27 | 50 | Interruptor de ignição, sistema de arranque, relé do lava faróis, aquecedor de combustível, “ECU-B”, “INDICADOR”. “POWER” |
| 28 | 30 | Interruptor de ignição, díodo (vela de incandescência), detonador, bobina de ignição e distribuidor (carburador), “IGN”. |
| Estafeta | ||
| R1 | Dimmer (LHD Europa) | |
| R2 | 5VZ-FE, 3RZ-FE: EFI | |
| 1KZ-TE: ECD | ||
| R3 | Aquecedores de espelhos retrovisores exteriores (MIR HTR) | |
| R4 | Vidro traseiro defogger (DEFOG) | |
| R5 | Tomadas de alimentação (PWR OUTLET) | |
| R6 | Luzes traseiras | |
| R7 | Arrancador (gasolina (ST)) | |
| R8 | Farol (CABEÇALHO) | |
| R9 | Aquecedor | |
Caixa de relé A/C (duplo controlo climático)
| Número | Estafetas |
| R1 | Embraiagem do compressor A/C (MG CLT) |
| R2 | Ventilador de arrefecimento eléctrico (CDS FAN) |
Caixa de relé adicional (Diesel)
| Número | Estafetas |
| R1 | Arrancador (ST) |
| R2 | Sistema de luz (SUB GLW) |
Caixa de relé de ABS
| Número | Fusível | Amps [A] | Descrição |
| 1 | ABS | 60 | Sistema de travagem antibloqueio |
| 2 | ABS | 40 | Sistema de travagem antibloqueio |
| Estafeta | |||
| R1 | Sistema de controlo de tracção (TRC) | ||
| R2 | Sistema de travagem antibloqueio (ABS MTR) | ||
| R3 | Sistema de travagem antibloqueio (ABS SOL) | ||











