Diagramas de fusíveis e caixas de relés – Honda Element
Aplica-se a veículos fabricados ao longo dos anos:
2003, 2004, 2005, 2006, 2007, 2008, 2009, 2010, 2011.
Atrás do acendedor de cigarros (tomadas de corrente) Os fusíveis 2 (tomada de alimentação acessória traseira) e 18 (tomada de alimentação acessória dianteira) na caixa de fusíveis do painel de instrumentos são responsáveis.
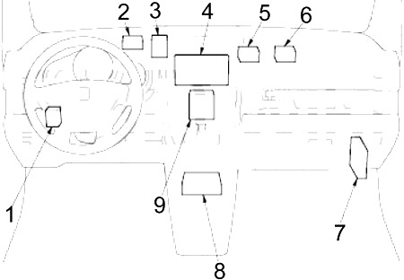
Compartimento do passageiro
- Unidade de controlo de luz diurna contínua
- Relé de corte de feixe de cruzamento
- Relé de luz diurna contínua
- Caixa de fusíveis
- Receptor de entrada sem chave
- 2008: Unidade de controlo do sistema de monitorização da pressão dos pneus (TPMS)
- 2009-2011: Unidade de controlo do sistema de monitorização da pressão dos pneus (TPMS)
- Unidade de áudio ou unidade de áudio/navegação
- 2009-2011: Unidade Imoes
- 2008: Unidade Imoes
- Amplificador de som
- Unidade de Sistema de Retenção Suplementar (SRS)
- 2009-2011: Unidade de controlo do adaptador USB
- 2007-2008: PGM-FI relé principal nº 2 (bomba de combustível)
- Relé de tomada de alimentação acessório traseiro
- M/T: Módulo de controlo do motor (ECM)
A/T: Módulo de controlo Powertrain (PCM) - Relé sensor de relação combustível/ar (A/F)
- 2007-2008: Relé de bobina de ignição
2009-2011: PGM-FI relé principal nº 2 (bomba de combustível) - Retransmissão de feedback A/T
- 2007-2011: Módulo de controlo de actuador de acelerador de relé
- 2007-2008: PGM-FI relé principal nº 1
2009-2011: Relé de bobina de ignição - Unidade de controlo do imobilizador (receptor)
- 2009-2011: PGM-FI relé principal nº 1
Diagrama da caixa de fusíveis do painel de instrumentos
A caixa de fusíveis interna está localizada debaixo da coluna de direcção. Para remover a tampa da caixa de fusíveis, rodar os botões no sentido anti-horário e puxar a tampa para fora das dobradiças.
| Número | Amps [A] | Descrição |
|---|---|---|
| 1 | 15 | 2003-2006: bobinas de ignição |
| 2 | 15 | Tomada de alimentação para acessórios traseiros |
| 3 | 10 | Unidade de controlo das luzes de circulação diurna, unidade de controlo do sistema de monitorização da pressão dos pneus (TPMS) (2008-2011) |
| 4 | 10 | Alternador, relé sensor de relação ar/combustível (A/F) (2003-2006), sensor de posição da árvore de cames (CMP), actuador de controlo de velocidade de cruzeiro, conjunto detector eléctrico de carga (ELD), válvula de respiro de vapor de combustível (EVAP), válvula de purga de vapor de combustível (EVAP), sensor lambda secundário aquecido (HO2S), unidade de controlo modulador VSA (2007-2011), sensor de fluxo de ar de massa (MAF) (2007-2011) |
| 5 | – | – |
| 6 | 7,5 | Relé de janela eléctrica, interruptor principal da janela eléctrica |
| 7 | 20 | Amplificador de som |
| 8 | 7,5 | Unidade de áudio, unidade de controlo multiplex (A/T) |
| 9 | 10 | Unidade de detecção da posição do passageiro (OPDS), motor do limpa-vidros traseiro, unidade de controlo do limpa-vidros traseiro, traseira |
| Interruptor do limpa pára-brisas/lava pára-brisas | ||
| 10 | 7,5 | Relé de inversão A/T, luzes de inversão, interruptor de inversão de marcha atrás (M/T), unidade indicadora, receptor de entrada sem chave, unidade de controlo multiplex, relé de fecho de turno (A/T), unidade de controlo do sistema de monitorização da pressão dos pneus (TPMS) (2008- 2011) |
| 11 | 7,5 | 2003-2006: Unidade de controlo modulador de ABS |
| 12 | 7,5 | Unidade de controlo de luz diurna contínua |
| 13 | 10 | Unidade de Sistema de Retenção Suplementar (SRS) |
| 14 | 10 | Relé de embreagem do compressor A/C, relé do ventilador do condensador A/C, relé do motor do ventilador do ventilador, actuador do espelho de potência, relé do ventilador do radiador, motor de controlo da recirculação, relé do desembaçador do vidro traseiro, painel de controlo do aquecedor |
| 15 | 20 | Relé sensor ar/combustível (A/F), relé sensor A/F, válvula de ventilação da lata (EVAP) |
| 16 | 15 | 2007-2011: relé de bobina de ignição, bobinas de ignição |
| 17 | 15 | ECM/PCM, bomba de combustível, receptor da unidade de controlo do imobilizador, unidade do sistema de segurança suplementar (SRS), unidade Imoes (2008-2011), indicador de corte do airbag do passageiro (2007-2011) |
| 18 | 15 | Tomada de alimentação do acessório frontal, tomada de alimentação do acessório traseiro, tomada de alimentação do acessório da consola (SC) |
| 19 | 7,5 | Indicador luminoso/transmissor de emergência |
| 20 | 20 | unidade de controlo Multiplex, motor do limpa pára-brisas, motor do lava pára-brisas |
| 21 | – | – |
| 22 | 20 | Motor do pára-brisas dos passageiros |
| 23 | 20 | Motor da janela do condutor, unidade eléctrica de controlo da janela, interruptor principal da janela eléctrica |
| 24 | – | – |
| 25 | – | – |
| R1 | Corte inicial (A/T) | |
| R2 | Luz traseira | |
| R3 | Fornecimento de janelas | |
| R4 | Indicadores de direcção e luzes de perigo | |
Compartimento do motor
- 2003-2006: Unidade de controlo modulador de ABS
2007-2011: Unidade moduladora de controlo VSA - Caixa de fusíveis
Diagrama da caixa de fusíveis no compartimento do motor
A caixa de fusíveis sob a tampa do motor está localizada no compartimento do motor do lado do condutor. Para a abrir, carregar nas abas como se mostra.
| Número | Amps [A] | Descrição |
|---|---|---|
| 1 | 30 | Motor do ventilador do condensador A/C, embraiagem do compressor A/C |
| 2 | 15 | Relé de luz traseira, luzes do painel de instrumentos, luzes de marcação do lado da frente, luzes de estacionamento dianteiras, luzes da matrícula, luzes traseiras, conector da luz do reboque, indicador de corte do airbag do passageiro |
| 3 | 7,5 | Luz de tecto frontal, luz de chave de ignição, luz de tecto traseira, faróis, luz de mapa individual (2009-2011) |
| 4 | 20 | Motor do ventilador do radiador |
| 5 | 15 | Indicador luminoso/transmissor de emergência, sinais de mudança de direcção, conector do módulo de controlo luminoso do reboque |
| 6 | 15 | Sensor de posição da cambota (CKP), sensor de posição da cambota (CMP) sensor A/B, ECM/PCM, válvula de controlo de ar inactivo (IAC), injectores, relé mestre PGM-FI #1, relé mestre PGM-FI #2 ( bomba de combustível), relé do módulo de controlo do actuador do acelerador (2007-2011) |
| 7 | 15 | Luzes de travagem, sinal de travagem (ABS modulator-control), actuador de controlo de cruzeiro, luz de travagem de montagem elevada, ECM/PCM, relé de sinal sonoro, conector de luz de reboque, conector de módulo de controlo de segurança |
| 8 | 15 | 2007-2011: Módulo de controlo de actuador de acelerador de relé |
| 9 | 10 | Unidade de áudio, unidade de navegação áudio, conector de ligação de dados (DLC), unidade de medição, receptor da unidade de controlo do imobilizador, indicador do imobilizador, receptor de entrada sem chave, unidade de controlo multiplex, receptor XM, unidade Imoes (2008-2011), conector da unidade de controlo de segurança, unidade de adaptador USB |
| 10 | 30 | 2003-2006: Unidade de controlo modulador de ABS |
| 30 | 2007-2011: Unidade modulador-controlo VSA | |
| 11 | 20 | Vidro traseiro defogger |
| 12 | 40 | Motor do ventilador |
| 13 | 40 | Relé de potência das janelas, fusíveis (compartimento dos passageiros): N.º 7, 22, 23 |
| 14 | 40 | Rastilhos (compartimento de passageiros): N.ºs 2, 3, 15, 16 |
| 15 | 15 | Farol esquerdo, unidade de controlo de luz diurna contínua, indicador de feixe alto |
| 20 | 2007-2008 SC: Farol esquerdo, relé de luz diurna contínua, indicador de feixe alto | |
| 16 | 15 | Unidade de controlo Multiplex |
| 17 | 15 | Farol direito, unidade de controlo de luz diurna contínua |
| 20 | 2007-2008 SC: Farol da direita, relé de luz diurna contínua | |
| 18 | 30 | 2003-2006: Unidade de controlo modulador de ABS |
| 30 | 2007-2011: Unidade modulador-controlo VSA | |
| 19 | 100 | Bateria, relé de faróis, distribuição de energia |
| 20 | 50 | Interruptor de ignição (BAT) |
| 21 | – | – |
| 22 | – | – |
| 23 | – | – |
| 24 | – | – |
| 25 | – | – |
| R1 | Farol esquerdo | |
| R2 | Farol direito | |
| R3 | Motor do ventilador | |
| R4 | Vidro traseiro defogger | |
| R5 | Embraiagem do compressor A/C | |
| R6 | Ventilador do radiador | |
| R7 | Trompa | |
| R8 | Ventilador do condensador A/C | |
| R9 | Unidade de detecção de carga eléctrica (ELD) | |





