Honda Odyssey RL5 (2011-2017) – caixa de fusíveis

Honda Odyssey RL5 (2011-2017) - skrzynka bezpieczników

Diagramas de fusíveis e caixas de relé – Honda Odyssey RL5

Aplica-se a veículos fabricados ao longo dos anos:

2011, 2012, 2013, 2014, 2015, 2016, 2017.

Acendedor de cigarros (tomada) fusíveis no Honda Odyssey são os fusíveis #14 (tomada de alimentação acessória traseira), #15 (tomada de alimentação acessória dianteira (se equipada)) e #27 (tomada de alimentação acessória dianteira) na caixa de fusíveis do painel de instrumentos do lado do passageiro.

Compartimento do passageiro

Honda Odyssey RL5 (2011-2017) - caixa de fusíveis

  1. Caixa de fusíveis №1
  2. Unidade de controlo do sistema de monitorização da pressão dos pneus (TPMS)
  3. Módulo de controlo de indicadores
  4. Unidade de controlo de nivelamento de faróis (com HID)
  5. Unidade de controlo para sensor de estacionamento e inversão de marcha atrás
  6. Unidade de Sistema de Retenção Suplementar (SRS)

Honda Odyssey RL5 (2011-2017) - caixa de fusíveis

  1. Caixa de junção do condutor №1
  2. Caixa de junção central
  3. Caixa de fusíveis №2
  4. Unidade de controlo de entrada sem chave do imobilizador
  5. Caixa de ligação do condutor №2

Caixa de fusíveis do compartimento do passageiro 1

Localizado debaixo do tablier. Os locais dos fusíveis são mostrados na etiqueta no painel lateral.

Honda Odyssey RL5 (2011-2017) - caixa de fusíveis.

Número Amps [A] Descrição
1 7,5 Actuador da fechadura da porta frontal do passageiro
2 7,5 Actuador de fechadura de porta deslizante direita
3 7,5 Actuador da fechadura da porta do condutor
4 7,5 Actuador da fechadura da porta frontal do passageiro
5 7,5 Actuador de fechadura de porta deslizante direita
6 7,5 Actuador da fechadura da porta do condutor (relé da fechadura da porta de alimentação (DR UNLOCK)), relé da fechadura da porta de alimentação (DR UNLOCK)
7 20 Fusíveis (caixa de fusíveis no compartimento de passageiros 1): N.ºs 1, 2, 3, 4, 5
8 10 Opção HAC
9 20 Unidade de controlo da porta deslizante esquerda
10 15 Fusíveis (caixa de fusíveis do compartimento de bagagem): №12, 13
11 7,5 relé de inversão de marcha, espelho interior com auto-reflexão, bússola eléctrica, módulo de controlo de indicadores, luzes de inversão de marcha, unidade de controlo multiplex integrada (MICU), unidade de controlo de sensores de estacionamento e inversão de marcha, unidade de controlo de espelhos eléctricos, unidade de controlo de potência do assento, solenóide de fecho de mudança, unidade de controlo de pressão dos pneus (TPMS)
12 20 Fusíveis (caixa de fusíveis do compartimento do motor nº 1): N.ºs 3, 4, 5, 6, 7
13 7,5 Ecrã de áudio – unidade de controlo do adaptador USB, unidade de áudio, unidade de navegação de áudio, relé de tomada de alimentação do acessório acessório inferior dianteiro, relé de tomada de alimentação do acessório superior dianteiro, microfone frontal de cancelamento de ruído activo (ANC), microfone frontal HFL-ANC, ecrã de navegação, mostrador de interface, bobina de bloqueio de teclas, microfone traseiro de cancelamento de ruído activo (ANC)
14 7,5 Módulo de controlo Powertrain – PCM, sinal de arranque
15 20 Motor para banco do condutor rebaixado electricamente (interruptor de ajuste do banco do condutor), motor para banco do condutor deslizante (interruptor de ajuste do banco do condutor), unidade de controlo HandsFreeLink, unidade de controlo para banco ajustável electricamente
16 20 Unidade de controlo do tejadilho/motor
17 20 Relé do vidro traseiro esquerdo, interruptor do vidro traseiro esquerdo
18 10 Sistema de entrada inteligente
19 20 Interruptor da janela principal de energia
20
21 20 Bomba de combustível (PGM-FI relé principal nº 2), unidade de controlo de entrada sem chave do imobilizador, módulo de controlo do grupo motopropulsor – PCM (IG1)
22 15 Fusíveis (caixa de fusíveis no compartimento de passageiros 1): N.ºs 19, 20, 21, 22, 23
23 7,5 Unidade modulador-controlo VSA, sensor de aceleração de velocidade de guinada
24 7,5 Detector de carga eléctrica (ELD), interruptor de posição do pedal do travão, módulo de controlo do grupo motopropulsor (PCM)
25 7,5 Módulo de controlo Powertrain – PCM (STRLD)
26 7,5 Relé de embreagem do compressor A/C, relé do ventilador do condensador A/C (díodo A/C), módulo inversor A/C, escurecimento automático do espelho interior, unidade A/C, motor do radiador, relé de controlo do ventilador (díodo A/C), relé do motor do ventilador dianteiro, unidade de controlo do ventilador HVAC, unidade de controlo do espelho eléctrico, interruptor geral eléctrico do vidro, painel de controlo A/C traseiro, unidade de controlo A/C traseira, relé do motor do ventilador traseiro, relé do desembaçador do vidro traseiro, relé do aquecedor do banco
27 7,5 Luzes de funcionamento diurno (DRL), módulo de controlo de relé
28 7,5 Fechadura com chave
29 7,5 Motor de apoio lombar do condutor (interruptor de apoio lombar do condutor)
30 7,5 Unidade de controlo do sistema de monitorização da pressão dos pneus (TPMS)
31
32 20 Motor de descida do banco traseiro eléctrico do condutor, interruptor de regulação do banco do condutor, motor de inclinação do banco do condutor, unidade de controlo eléctrico do banco
33 40 Unidade de controlo da porta deslizante esquerda
34
Estafeta
R1 Corte inicial №1
R2 Corte inicial №2
R3 PGM-FI Main №2 (Bomba de combustível)
R4 Ignição (corte IG2)
R5 Ignição (corte de ACC)

Caixa de fusíveis no compartimento de passageiros 2

Localizado no painel lateral inferior. Retirar a tampa para abrir.

Veja também:  Honda Odyssey RL1 (1999-2004) - caixa de fusíveis

Honda Odyssey RL5 (2011-2017) - caixa de fusíveis

Número Amps [A] Descrição
1 30 Amplificador de som
2 20 Relé do vidro traseiro direito, interruptor do vidro traseiro direito
3 10 Unidade de controlo de montagem do motor (relé de controlo activo de montagem do motor (ACM))
4
5 20 Unidade de controlo do aquecedor de bancos ( relé do aquecedor de bancos )
6
7 20 Motor de regulação do banco do passageiro da frente (interruptor de regulação do banco do passageiro da frente)
8 20 Motor eléctrico de inclinação do banco do passageiro da frente (interruptor de regulação do banco do passageiro da frente)
9
10
11
12
13 20 Unidade de controlo para a porta deslizante direita
14 15 Tomada de alimentação acessória do compartimento de carga (relé da tomada de alimentação acessória do compartimento de carga)
15 15 Tomada de alimentação dos acessórios inferiores dianteiros (relé de tomada de alimentação da consola frontal)
16
17
18 20 Interruptor da janela frontal do passageiro
19 10 Unidade de Sistema de Retenção Suplementar (SRS)
20 7,5 Relé de controlo para controlo activo da montagem do motor (ACM), unidade de controlo da montagem do motor, unidade de controlo da porta deslizante direita, unidade de controlo do aquecimento do banco
21 7,5 Unidade de controlo de nivelamento de faróis (com HID)
22
23 7,5 Indicador de corte do airbag frontal do passageiro, módulo do Sistema de Detecção de Ocupantes (ODS), módulo do Sistema de Segurança Suplementar (SRS), fusível (caixa de fusíveis no compartimento do passageiro 1): N.º 24
24
25 7,5 Iluminação: Luz indicadora da posição das mudanças A/T, Módulo de áudio, Módulo de áudio, Luz de interruptor BSI OFF, Módulo de ar condicionado, Luz de interruptor do frigorífico, Luz do espaço para os pés do condutor, Luz de interruptor da porta traseira do condutor, Luz do porta-luvas, Luz de interruptor de aviso de perigo, Unidade de controlo HVAC, Unidade HomeLink, Interruptor de luz interior, Interruptor de energia da porta deslizante do pilar B esquerdo, Interruptor de energia da porta deslizante do pilar B esquerdo, Interruptor de energia do sensor de estacionamento e de marcha-atrás, Luz do compartimento das pernas do passageiro, Luz do interruptor de energia da porta deslizante, Painel de controlo do ar condicionado traseiro, Controlador e ecrã traseiro, Conjunto do macaco auxiliar Res, Interruptor de energia da porta deslizante do pilar B direito, Luz do interruptor do volante, Luz do interruptor VSA OFF
26
27 15 Tomada de alimentação dos acessórios de topo frontal (relé de tomada de alimentação dos acessórios de topo frontal)
28
Estafeta
R1 Aquecedor de bancos
R2 Janela traseira direita de energia
R3 Controlo activo da montagem do motor (ACM)
R4 Tomada de alimentação acessória no compartimento de carga
R5 Tomada de alimentação de acessório inferior frontal
R6 Tomada de alimentação para acessórios superiores dianteiros

Caixa de relé do compartimento dos passageiros

Honda Odyssey RL5 (2011-2017) - caixa de fusíveis

Número Estafeta
R1 Iluminação interior recortada
R2 Motor do ventilador frontal

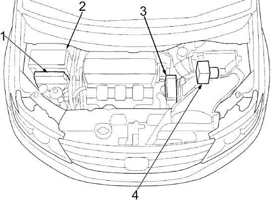
Compartimento do motor

Honda Odyssey RL5 (2011-2017) - caixa de fusíveis

  1. Módulo de controlo Powertrain (PCM)
  2. Caixa de fusíveis №1
  3. Caixa de fusíveis №2
  4. Unidade de controlo do modulador VSA

Caixa de fusíveis 1

Localizado no lado do passageiro, perto do reservatório do lavador de pára-brisas. Pressione as abas para abrir a caixa.

Veja também:  Honda Civic (1992-1995) - caixa de fusíveis

Honda Odyssey RL5 (2011-2017) - caixa de fusíveis

Número Amps [A] Descrição
1
2
3 15 Alternador, válvula de alívio de vapor de combustível (EVAP), PCM (VBSOL)
4 15 Relé motor do limpa pára-brisas traseiro, relé motor do limpa pára-brisas principal, relé motor do limpa pára-brisas, relé motor do limpa pára-brisas/roda janela traseira (relé motor do limpa pára-brisas ou relé motor do limpa pára-brisas traseiro)
5 7,5 Módulo de controlo Powertrain – PCM (VBSOL2)
6 7,5 Módulo de controlo de relés (IG1 ECU FR)
7
8 15 Relé auxiliar PGM-FI, sensor de relação combustível/ar dianteiro (A/F), sensor de oxigénio aquecido dianteiro secundário (HO2S), sensor de relação combustível/ar traseiro (A/F), sensor de oxigénio aquecido traseiro secundário (HO2S)
9 15 Relé de controlo do Sistema Electrónico de Controlo de Aceleração (ETCS), Módulo de Controlo do Grupo Electrogéneo – PCM (IG1 ETCS)
10 15 PGM-FI relé principal nº 1, PGM-FI relé principal nº 2, módulo de controlo da unidade de potência – PCM (IGP), sensor de posição da cambota (CKP), sensor de posição da cambota (CMP), relé de controlo do acelerador electrónico (ETCS), injectores, sensor de fluxo de ar de massa (MAF), fusível (caixa de fusíveis do compartimento do motor nº 1): N.º 28
11 15 Bobina de ignição relé, bobinas de ignição
12
13 7,5 Módulo de controlo Powertrain – PCM (VBUM)
14
15 20 Unidade de cancelamento activo de ruído (ANC), unidade de controlo do adaptador de áudio Display-USB, unidade de áudio-navegação, unidade de áudio, unidade de controlo HandsFreeLink, unidade de navegação Display Uni
16 10 Visor áudio, unidade de controlo de ar condicionado, conector de ligação de dados (DLC), unidade de controlo multiplex integrada (MICU), microfone frontal HFL-ANC, unidade de controlo de instrumentos, unidade HomeLink, unidade de controlo de imobilizador sem chave, unidade de controlo de porta deslizante esquerda, unidade de controlo de espelhos eléctricos, unidade de controlo de bancos eléctricos, unidade de controlo de porta traseira, interruptor da janela principal, controlador e ecrã traseiro, MICU traseira, unidade de controlo de relé, unidade de controlo de porta deslizante direita
17 7,5 Embraiagem do compressor A/C (relé de embraiagem do compressor A/C)
18 20 Relé de luz de nevoeiro, luz de nevoeiro esquerda/direita
19
20 10 Semáforo à direita, módulo de controlo de relé
21
22 10 Relé de luz traseira, luz dianteira esquerda de estacionamento/luz de marcação lateral, luz traseira esquerda de marcação interior, luz traseira esquerda da placa de matrícula, luz traseira esquerda de marcação lateral/luz traseira esquerda, luz dianteira direita de estacionamento/luz traseira direita de marcação lateral, luz traseira direita da placa de matrícula, luz traseira direita, fusíveis (passageiro) Caixa de fusíveis do compartimento 2): N.º 25
23
24 10 Luz de condução do farol esquerdo, módulo de controlo de relé
25
26 15 Farol direito (feixe baixo) ou unidade HID direita
27 15 Farol esquerdo (farol baixo) ou unidade HID esquerda
28 7,5 Sub-relé PGM-FI, relé do ventilador do radiador (díodo A/C B)
29 30 Motor do ventilador condensador A/C (relé do ventilador do radiador, relé de controlo do ventilador), motor do ventilador do radiador (relé do ventilador do radiador)
30 30 Motor do ventilador do condensador A/C (relé do ventilador do condensador A/C)
31 30 Relé do limpa pára-brisas alto/baixo (relé principal do limpa pára-brisas), motor do limpa pára-brisas (relé principal do limpa pára-brisas, relé do motor do limpa pára-brisas e relé do limpa pára-brisas alto/baixo), relé do motor do limpa pára-brisas (relé principal do limpa pára-brisas)
Estafeta
R1 Vidro traseiro defogger
R2 Compressor A/C
R3 Bobina de ignição
R4 Ventilador do radiador
R5 Controlo do Sistema de Controlo Electrónico de Aceleradores (ETCS)
R6 Ventilador do condensador A/C
R7 Limpador de pára-brisas principal
R8 Luzes de nevoeiro
R9 PGM-FI Sub
R10 PGM-FI Principal №1
R11 Farol baixo
R12 Controlo dos ventiladores
R13 Trompa
R14 Luzes de cauda
R15 Motor do ventilador traseiro

Caixa de fusíveis 2

A caixa de fusíveis adicional debaixo da tampa do compartimento do motor está localizada perto da bateria. Pressione as abas para abrir a caixa.

Honda Odyssey RL5 (2011-2017) - caixa de fusíveis

Número Amps [A] Descrição
1 125 Alternador, bateria, fonte de alimentação
2-1 60 Fusíveis (caixa de fusíveis do compartimento do motor nº 1): N.ºs 17, 18, 29, 30
2-2 50 Fusíveis (caixa de fusíveis no compartimento de passageiros 2): Nos. 12, 13, 14, 15, 26, 27, 28
2-3 30 Motor do ventilador traseiro (relé do motor do ventilador traseiro)
60 HondaVAC
2-4 30 Fusível (caixa de fusíveis do compartimento do motor nº 2): Nº 11, fusíveis (caixa de fusíveis do compartimento do motor Nº 1): Nos. 8, 9, 10, 11, 12, 13, 14, 14, 15, 16
2-5 40 Unidade de controlo modulador VSA
2-6 30 Fusíveis (caixa de fusíveis do compartimento do motor nº 1): N.º 9, 10
2-7 30 Unidade de controlo modulador VSA
2-8 30 Fusíveis (caixa de fusíveis do compartimento do motor 1): N.º 8
3-1 50 Fusíveis (caixa de fusíveis no compartimento de passageiros 2): N.ºs 6, 7, 8, 9, 20, 33
3-2 50 Interruptor de ignição, arrancador (relé de arranque 1 e relé de arranque 2), fusível (caixa de fusíveis no compartimento de passageiros 2): N.º 25
3-3 60 Fusíveis (caixa de fusíveis do compartimento de bagagem): № 1, 8, 14, 15, 16
3-4 50 Fusíveis (caixa de fusíveis no compartimento de passageiros 2): caixa de fusíveis/relés nº 1, 2, 3, 4, 5, 6, 7, 8, 9, 10, 10, 11, 18
3-5 50 Fusíveis (caixa de fusíveis no compartimento de passageiros 1): Nos. 15, 16, 17, 18, 19, 29, 30, 30, 31, 32
3-6 60 Relé de baixa voltagem do farol, fusíveis (caixa de fusíveis do compartimento do motor nº 1): Nos. 19, 20, 21, 22, 23, 24, 25, 26, 27, 31
3-7 40 Motor soprador frontal (relé motor soprador frontal)
3-8 40 Unidade de controlo para porta de correr à direita
4
5 40
6 40 Vidro traseiro (relé do desembaçador do vidro traseiro)
7
8 7,5 Sensor de bateria
9 20 Interruptor de posição do pedal de travagem, luzes de travagem, unidade de controlo multiplex integrada (MICU), luz de travagem de montagem elevada, buzina
Estafetas, buzinas
10 15 Interruptor de aviso, Unidade de Controlo Integrado Multiplex (MICU)
11_ 7,5 Relé de corte de luz interior, luz da área de carga, luz da porta interior do condutor, luz do espelho cosmético do condutor, luz do mapa individual dianteiro, luz do tecto da porta do passageiro dianteiro, luz da chave de ignição, relé de corte de luz interior, luz do mapa individual traseira esquerda (2ª), luz do mapa individual esquerda traseira (3ª), luz do mapa individual esquerda traseira (3ª), luz do espelho cosmético do passageiro, interruptor da porta traseira interior, luz do mapa individual direita traseira (2ª), luz do mapa individual direita traseira (3ª)

Caixa de fusíveis do compartimento de bagagem

Honda Odyssey RL5 (2011-2017) - caixa de fusíveis

  1. Caixa de retransmissão
  2. Unidade de controlo/motor de tejadilho
  3. Bússola eléctrica
  4. Unidade de controlo de informação de pontos cegos (BSI)
  5. Unidade inversor de ar condicionado
  6. Caixa de fusíveis
  7. Unidade de radar de ângulo morto esquerdo (BSI)
  8. Traseira MICU
  9. Unidade de controlo da porta traseira eléctrica
  10. Unidade de controlo para a porta deslizante esquerda
Veja também:  Honda Accord (1994-1997) - caixa de fusíveis

A caixa de fusíveis traseira está localizada no lado esquerdo do compartimento de carga. Remover a tampa alavancando o bordo da tampa com uma chave de fendas de cabeça plana.

Honda Odyssey RL5 (2011-2017) - caixa de fusíveis

Número Amps [A] Descrição
1 20 Unidade de controlo da porta traseira eléctrica
2
3
4 10 Actuador de libertação da porta traseira, relé de actuador de libertação da porta traseira
5 7,5 Actuador da fechadura da porta deslizante esquerda, actuador da fechadura da porta deslizante esquerda, relé da fechadura da porta de alimentação (LOCK), fonte de alimentação
Relé de fecho de porta (LOCK)
6
7
8
9
10
11
12 10 Motor do limpa-vidros traseiro, relé do motor do limpa-vidros traseiro
13 7,5 Unidade de controlo de informação de ponto cego (BSI), unidade de controlo de porta deslizante esquerda, unidade de controlo de porta traseira de alimentação, unidade de controlo de multiplexação traseira integrada (MICU)
14 40 Unidade de controlo da porta traseira eléctrica
15 30 Unidade inversor de ar condicionado
16
17
18

Clara Serrano

Quão útil foi este post?

Clique numa estrela para o avaliar!

Avaliação média 0 / 5. Número de votos: 0

Nenhum voto até agora! Seja o primeiro a avaliar este post.

Sem comentários.

Deixe um comentário

O seu endereço de email não será publicado. Campos obrigatórios marcados com *