Diagramas de fusíveis e caixas de relés – Honda Pilot
Aplica-se a veículos fabricados ao longo dos anos:
2003, 2004, 2005, 2006, 2007, 2008, 2009.
Acendedor de cigarros (tomada de alimentação) fusíveis em Honda Pilot são os fusíveis nº 9 (tomada de acessórios dianteira) na caixa de fusíveis do painel de instrumentos do lado do passageiro e os fusíveis nº 3 (2003-2004) ou nº 6 (a partir de 2005) (tomada de acessórios traseira) na caixa de fusíveis do compartimento do motor auxiliar.
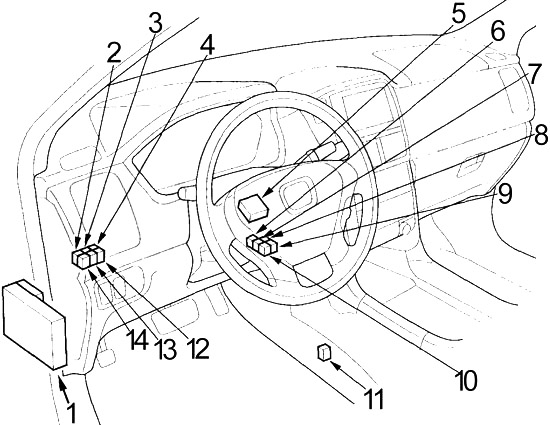
Compartimento do passageiro
- Caixa de fusíveis 1
- Relé de tomada de alimentação acessório traseiro
- Relé de iluminação interior
- 2003-2005: Estafeta para os faróis de nevoeiro dianteiros
2006-2008: Relé de corte de feixe de cruzamento (Dipped beam cut-off relay) - Unidade de controlo de luz diurna contínua
- 2006-2008: relé motor do lavador de pára-brisas
- Relé de bloqueio de mudança de velocidades
- Relé de contacto P
- PGM-FI relé principal №1
- PGM-FI relé principal nº 2 (bomba de combustível)
- Relé do motor do ventilador traseiro
- 2003-2005: relé Dimmer
2006-2008: Relé de luz diurna contínua - Relé de luz traseira
- 4WD: Relé para sistema de gestão de binário variável 4WD (VTM-4)
2WD (2006-2008): Relé de controlo de montagem do motor
- Unidade de controlo do imobilizador-receptor
- 2WD (2006-2008): Unidade activa de controlo de ruído
- Receptor de entrada sem chave
- Relé sensor relação ar/combustível (A/F)
- Relé de ignição
- Relé do módulo de controlo do actuador de acelerador
- 2006-2008: Relé motor da máquina de lavar roupa traseira
- Caixa de fusíveis 2
- Unidade de sistema de retenção suplementar (SRS)
- 2WD (2006-2008): Unidade de controlo de montagem do motor
Caixa de fusíveis do compartimento do passageiro 1
Localizado debaixo do painel de instrumentos do lado do condutor.
| Número | Amps [A] | Descrição |
|---|---|---|
| 1 | 15 | Unidade de controlo do imobilizador-receptor, módulo de controlo do trem de força (PCM), relé mestre PGM-FI Nº 2 (bomba de combustível), unidade de sistema de retenção suplementar (SRS) |
| 2 | 10 | Unidade de Sistema de Retenção Suplementar (SRS) |
| 3 | 7,5 | Relé de embraiagem do compressor A/C, relé do motor do ventilador, unidade de controlo A/C, painel de controlo do aquecedor, módulo de controlo da unidade de potência (PCM), motor de controlo de recirculação, relé do motor do ventilador traseiro, motor de modo de fecho, relé do desembaçador do vidro traseiro, módulo de controlo do ventilador do radiador (2003 -2005) |
| 4 | 7,5 | Unidade inversora CA (2006-2008), actuador espelho, desembaçador espelho, modulador-controlador ABS (2003-2005), sistema de gestão de binário variável 4WD (VTM-4) (2003-2005) |
| 5 | 10 | Unidade de controlo de luz diurna contínua |
| 6 | 15 | Alternador, luz de interruptor principal de controlo de cruzeiro, válvula de respiro de absorção de vapor de combustível (EVAP), módulo de controlo de indicador, módulo de controlo do grupo motopropulsor (PCM), módulo de controlo do modulador VSA (2006-2008), montagem do sensor de carga eléctrica (ELD) (2003 -2005), sensores secundários de oxigénio aquecido (2003-2005), módulo de controlo do ventilador do radiador (2003-2005), sistema de gestão de binário variável 4WD (VTM-4) (2003-2005), relé VTM-4 (2003-2005) |
| 7 | 7,5 | Espelho retrovisor eléctrico de bússola (2006-2008), Sistema de detecção de ocupantes (ODS) indicador de corte de passageiros, espelho retrovisor interior com auto-protecção (2006-2008), relé intermitente do limpa-vidros traseiro, interruptor do limpa-vidros traseiro, motor do limpa-vidros traseiro, luz de nevoeiro dianteira (2006-2008) |
| 8 | 7,5 | Relé de tomada de alimentação acessório, microfone de controlo de ruído activo traseiro (2WD) (2006-2008), unidade activa de controlo de ruído (2WD) (2006-2008), módulo de controlo de instrumentos, conector de entrada sem chave opcional (2006-2008), relé de tomada de alimentação acessório traseiro, relé de fecho de turno |
| 9 | 10 | Unidade activa de controlo de ruído (2WD) (2006-2008), relé de inversão A/T, luzes de inversão, sensor de falha de luz de travagem, módulo de controlo de indicador, receptor de entrada sem chave, unidade de navegação (2006-2008), espelho interior com escurecimento automático ( 2006-2008), conector de segurança opcional (2006-2008), Unidade de controlo de passageiros Multiplex, solenóide de bloqueio de mudança (2006-2008), sistema de gestão de binário variável 4WD (VTM-4), luz indicadora de interruptor de bloqueio (4WD), unidade de controlo de sistema de gestão de binário variável 4WD (VTM-4), unidade de controlo de multiplex do condutor |
| 10 | 7,5 | Indicador de direcção/transmissor de perigo |
| 11 | 7,5 | 2006-2008: Unidade de controlo para o sistema de gestão de binário variável 4WD (VTM-4) |
| 15 | 2003-2005: Bobinas de ignição | |
| 12 | 30 | Relé motor do limpa pára-brisas traseiro, motor do limpa pára-brisas, circuito do limpa pára-brisas intermitente, motor do limpa pára-brisas, relé do limpa pára-brisas intermitente |
| 13 | 7,5 | PGM-FI relé principal, módulo de controlo do grupo motopropulsor (PCM) |
| R1 | Corte inicial | |
| R2 | Inverter | |
| R3 | Indicadores de direcção e luzes de perigo | |
Caixa de fusíveis no compartimento de passageiros 2
Localizado debaixo do tablier do lado do passageiro. Para abrir, puxar a extremidade direita da tampa.
| Número | Amps [A] | Descrição |
|---|---|---|
| 1 | 20 | Unidade de controlo de janela eléctrica |
| 2 | 20 | Motor eléctrico de descida do banco do condutor dianteiro (EX-L), motor eléctrico de deslocação do banco do condutor (EX-L) Motor eléctrico de descida do banco do condutor traseiro (excepto EX-L), motor eléctrico de reclinação do banco do condutor ( Expert EX-L) |
| 3 | 20 | Aquecedores de bancos dianteiros |
| 4 | 20 | Motor eléctrico de descida do banco traseiro do condutor (EX-L), motor eléctrico de descida do banco do condutor (EX-L), motor eléctrico de descida do banco traseiro do condutor (excepto EX-L), motor eléctrico de deslocação do banco do condutor (excepto EX-L ) |
| 5 | – | – |
| 6 | 10 | Unidades de controlo de luz diurna contínua |
| 7 | 20 | Motor do vidro traseiro esquerdo, interruptor do vidro principal, unidade eléctrica de controlo do vidro |
| 8 | 20 | Motor do pára-brisas dos passageiros |
| 9 | 15 | Unidade de áudio, unidade de leitor de DVD (com sistema de entretenimento traseiro), tomada de alimentação do acessório de consola, tomada de alimentação do acessório dianteiro, unidade de navegação, visor de navegação, conector de isqueiro |
| 10 | 15 | Luz da unidade de áudio, luz de montagem do macaco auxiliar (com sistema de entretenimento traseiro), luz do interruptor principal do controlo de cruzeiro, luz da unidade de ar condicionado, unidade de leitor de DVD (com sistema de entretenimento traseiro), unidade de controlo multiplex do condutor, luzes de estacionamento dianteiras, luzes de marcação lateral dianteiras, luz da consola dianteira, interruptores do fecho da porta dianteira, luz do módulo de comando do indicador, luz do porta-luvas, luz do interruptor de aviso de perigo, luz do painel de controlo do aquecedor, luz do interruptor de luz interior, luz de matrícula, luz de interruptor do tejadilho da lua, visor de navegação, unidade de navegação, conector do isqueiro, conector da luz de nevoeiro (caixa de fusíveis/relés debaixo do painel de instrumentos do condutor), luz de interruptor do espelho eléctrico, Luz de controlo da unidade de controlo do ar condicionado do aquecedor traseiro, controlador traseiro e ecrã (com sistema de entretenimento traseiro), luz da consola de tejadilho, banco, interruptores de luz do aquecedor, relé da luz traseira, luzes traseiras, conector da luz do reboque, interruptor de bloqueio VTM-4 |
| 11 | 10 | Luzes de mapa individuais dianteiras, luzes decorativas da porta frontal, HomeLink, relé de luz interior, visor de navegação, unidade de navegação, luzes de mapa individuais traseiras, luz da porta traseira, luz de espelho cosmética |
| 12 | 20 | Unidade de controlo multiplex de passageiros |
| 13 | 7,5 | Unidade de controlo multiplex condutor, unidade de controlo multiplex porta, módulo de controlo indicador, unidade de controlo do imobilizador-receptor, indicador do imobilizador, módulo receptor de entrada sem chave, conector de segurança, indicador de segurança, unidade de controlo multiplex passageiro |
| 14 | 7,5 | 2006-2008: relé de fecho do telhado da lua, relé de abertura do telhado da lua |
| 15 | 20 | 2006-2008: relé de fecho do tejadilho da lua, motor de tejadilho do sol, relé de tejadilho da lua aberto |
| 16 | 20 | Motor do vidro traseiro direito |
| 7,5 | Relé do ventilador do radiador | |
| R1 | Fornecimento de janelas | |
| R2 | Tomada de alimentação acessória | |
| R3 | Vidro traseiro defogger | |
Compartimento do motor
- Módulo de controlo Powertrain (PCM)
- Caixa de fusíveis 1
- Caixa de fusíveis 2
- Unidade moduladora de controlo para ABS ou VSA
- Caixa de retransmissão
Caixa de fusíveis 1
A caixa de fusíveis principal debaixo da capota está localizada no lado do passageiro. Para a abrir, carregar nas abas como se mostra.
| Número | Amps [A] | Descrição |
|---|---|---|
| 41 | 120 | Bateria, distribuição de energia |
| 42 | 50 | Interruptor de ignição, conector opcional sem chave |
| 43 | 20 | Interruptor de luz combinada, unidade de controlo de luz diurna contínua, faróis direitos |
| 44 | – | – |
| 45 | 20 | Interruptor de luz combinada, unidade de controlo de luz diurna contínua, faróis esquerdos, luz indicadora de feixe alto, luz de nevoeiro (2006-2008) |
| 46 | 15 | Conector de ligação de dados (DLC), relé principal PGM-FI |
| 47 | 20 | Luzes de travagem, unidade de controlo de transmissão multiplex, luz de travagem de montagem elevada, buzina de relé, buzinas, luz de chave de ignição, solenóide de chave de bloqueio, módulo de controlo do Powertrain (PCM), conector de luz de reboque |
| 48 | 20 | Unidade de áudio, leitor de DVD (sistema de entretenimento traseiro), controlador traseiro e ecrã (sistema de entretenimento traseiro) |
| 49 | 15 | Luzes de emergência |
| 50 | 20 | 2003-2005: Conector para iluminação de reboques |
| 51 | 40 | Relé de elevador de janela, fusível (caixa de fusíveis no compartimento de passageiros 2): N.º 1 |
| 52 | 40 | Fusíveis (caixa de fusíveis no compartimento de passageiros 2): N.º 2, 3, 4, 6 |
| 53 | 30 | Condensador de ruído, desembaçador do vidro traseiro |
| 54 | 40 | Fusível (caixa de fusíveis no compartimento de passageiros 2): N.ºs 9, 10, 11, 12, 13 |
| 55 | 30 | Motor do ventilador traseiro |
| 56 | 40 | Motor do ventilador |
| 57 | 30 | Motor do ventilador do radiador |
| 58 | 30 | Motor do ventilador do condensador A/C |
| 59 | 7,5 | Embraiagem do compressor A/C |
| – | – | Rastilho de reserva |
| R1 | Farol 1 (à direita) | |
| R2 | Reflector 2 (esquerda) | |
| R3 | Trompa | |
| R4 | Ventilador do condensador A/C | |
| R5 | Motor do ventilador | |
| R6 | Ventilador do radiador | |
| R7 | Embraiagem do compressor A/C | |
Caixa de fusíveis 2
| Número | Amps [A] | Descrição |
|---|---|---|
| 1 | 20 | Unidade inversor AC |
| 2 | 40 | Unidade de controlo modulador VSA |
| 3 | 30 | Unidade de controlo modulador VSA |
| 4 | 20 | 4WD Variable Torque Management System (VTM-4) Unidade de Controlo |
| 5 | 10 | 2WD: unidade de controlo de montagem do motor |
| 6 | 15 | Tomada de alimentação acessória da consola, tomada de alimentação acessória traseira |
| 7 | 15 | Módulo de Controlo do Powertrain (PCM) |
| 8 | 15 | Bobinas de ignição |
| 9 | 15 | Sensores de relação ar/combustível (A/F) (banco 1, banco 2), sensores secundários de oxigénio aquecido (banco 1, banco 2), unidade de detecção de carga eléctrica (ELD) |
| 10 | 7,5 | Unidade de controlo do sistema de monitorização da pressão dos pneus (TPMS) |
| 11 | 20 | Luz de nevoeiro frontal, módulo de controlo do indicador, conector da luz de nevoeiro, conector do interruptor da luz de nevoeiro |
Caixa de retransmissão
| Número | Estafeta |
|---|---|
| R1 | Controlo dos ventiladores |
| R2 | Limpador de vidros traseiro intermitente |
| R3 | Limpa pára-brisas intermitente |
| R4 | Aquecedor de bancos |
Rastilhos de reboque
Se a luz do seu reboque estiver fundida, verifique estes fusíveis quando substituir as lâmpadas:
- Rastilhos da caixa de fusíveis principal debaixo da tampa do fusível 5, 7 e 24
- Caixa de fusíveis interior do lado do condutor: 10
- Caixa de fusíveis interior do lado do passageiro: 10
Se estes fusíveis estiverem operacionais mas as luzes do reboque ainda não funcionarem, há dois fusíveis de 7,5 A queimados na cablagem do engate do reboque. Para aceder aos fusíveis de 7,5 A:
- Abrir a porta traseira e remover a cobertura do chão da bagageira.
- Puxar a parte inferior da vedação da porta traseira de borracha.
- Retirar o painel de cobertura traseira puxando para cima no bordo interior do painel de cobertura traseira e destacando os quatro clipes e pegas.
- Depois de substituir os fusíveis e reinstalar o painel da tampa traseira na ordem inversa de remoção.









