Honda S2000 (1999-2009) – caixa de fusíveis

Diagramas de fusíveis e caixas de relés – Honda S2000

Aplica-se a veículos fabricados ao longo dos anos:

1999, 2000, 2001, 2002, 2003, 2004, 2005, 2006, 2007, 2008, 2009.

Compartimento do passageiro

Honda S2000 (1999-2009) - caixa de fusíveis

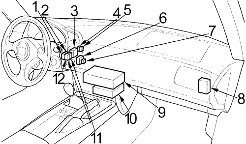
  1. Caixa de fusíveis
  2. Módulo de controlo do motor (ECM)
  3. 2006-2009: Relé de controlo do Sistema Electrónico de Controlo de Aceleradores (ETCS)
  4. Relé de corte de feixe alto
  5. 2000-2001: Relé do limpa pára-brisas intermitente
    2002-2009: Relé de desembaciador da janela traseira
  6. Unidade de controlo de fechadura de porta sem chave
  7. 2000-2005: Controlo de cruzeiros
  8. 2006-2009: Módulo de controlo de accionador de acelerador

Honda S2000 (1999-2009) - caixa de fusíveis

  1. Relé de bobina de ignição
  2. Relé sensor de relação combustível/ar (A/F)
  3. 2000-2005: PGM-FI relé principal
  4. 2006-2009: PGM-FI Estafeta Principal N.º 1
  5. 2006-2009: PGM-FI relé mestre nº 2
  6. Unidade de controlo para luzes diurnas permanentes
  7. Subunidade de controlo de luz diurna contínua
  8. Unidade de controlo superior de substituição
  9. Unidade de áudio
  10. Unidade de Sistema de Retenção Suplementar (SRS)
  11. Relé de ignição (IG2)
  12. Relé de tomada de alimentação acessória

Honda S2000 (1999-2009) - caixa de fusíveis

  1. Interruptor da janela principal de energia
  2. 2002-2009: Relé de mudança do defogger da janela traseira

Diagrama da caixa de fusíveis no compartimento do passageiro

A caixa de fusíveis interna está localizada debaixo do painel de instrumentos do lado do condutor. Para o abrir, rode o botão.

Honda S2000 (1999-2009) - caixa de fusíveis

Honda S2000 (1999-2009) - caixa de fusíveis

Número Amps [A] Descrição
1 10 Unidade de Sistema de Retenção Suplementar (SRS)
2 15 Unidade de sistema de retenção suplementar (SRS), bomba de combustível, unidade de controlo do imobilizador-receptor (2006-2009), relé mestre PGM-FI (2000-2005), unidade de depósito de combustível, indicador de corte de airbag do passageiro, unidade de sensor de massa do passageiro
3 7,5 Interruptor de bloqueio da embraiagem, interruptor de arranque do motor, relé de corte do motor de arranque, solenóide de arranque
4 15 2000-2005: Bobinas de ignição
5 7,5 Luzes de inversão, luz do sistema de carregamento (2004-2005), indicador de luz diurna contínua (DRL), unidade de controlo electrónico de direcção assistida (EPS), unidade de controlo indicador, unidade de controlo de fechadura de porta sem chave, unidade de controlo de telhado dobrável
6 15 Válvula solenóide de controlo de ar, alternador, indicador do sistema de carga (2000-2003), controlo de cruzeiro, interruptor principal de controlo de cruzeiro, montagem do sensor de carga eléctrico (ELD), controlo de emissão de evaporação (EVAP) válvula solenóide de desvio, válvula de purga de recipiente EVAP, sensores de oxigénio primários e secundários aquecidos, relé de mudança de defogger do vidro traseiro (2002-2005)
7 7,5 Indicador de direcção/transmissor de perigo
8 20 Interruptor da janela principal , motor do limpa pára-brisas, relé do limpa pára-brisas intermitente
9 10 Tomada de alimentação acessória, módulo de áudio, interruptor de rádio remoto, interruptor de luz descapotável
10 7,5 2006-2009: Relé sensor de combustível/ar (A/F) (LAF)
11 7,5 2006-2009: Relé de controlo do Sistema Electrónico de Controlo de Aceleradores (ETCS)
12 15 Motor do lavador de pára-brisas, interruptor superior conversível
13 7,5 Circuito de accionamento do limpa pára-brisas intermitente (em unidade indicadora)
14 15 2006-2009: módulo de controlo do actuador de acelerador
15 20 2006-2009: Sensor de relação ar/combustível (A/F) No. 1, Controlo de emissões evaporativas (EVAP) Válvula de ventilação do recipiente
16 15 2006-2009: bobinas de ignição, relé de bobina de ignição
17 20 Motor da janela do condutor
18 20 Motor da janela do passageiro, unidade de controlo do topo do descapotável
19 7,5 Modulador-controlador ABS (2000-2005), unidade de controlo de luz diurna contínua, accionador do espelho de potência, relé do desembaçador do vidro traseiro
20 7,5 Relé de embreagem do compressor A/C, relé do motor do ventilador do ventilador do condensador A/C, painel de controlo do aquecedor, relé do ventilador do radiador, motor de controlo da recirculação
21 7,5 Módulo de controlo do motor (ECM), relé principal PGM-FI (2000-2005), unidade de controlo do sistema de controlo da pressão dos pneus (TPMS)
22 15 Unidade de áudio
23 10 Relé de luz traseira, luz do módulo de áudio, luz do interruptor principal do controlo de cruzeiro, luzes de estacionamento dianteiras, luzes indicadoras, luz do interruptor de aviso de perigo, luz do painel de controlo do aquecimento, unidade de controlo da fechadura da porta sem chave, luz da matrícula, conector opcional, luz do interruptor superior conversível, telecomando por rádio, interruptores de luz, luzes traseiras de marcação lateral, luzes traseiras, luz indicadora de interruptor do defoggerador traseiro, luz indicadora de corte do airbag do passageiro (2006-2009), luz do interruptor VSA
24 7,5 Luzes de tecto/pontos, luzes de arranque
25 7,5 Módulo de controlo do motor (ECM), conjunto indicador, painel de controlo do aquecedor, luz indicadora do imobilizador, unidade de controlo do topo convertível, receptor da unidade de controlo do imobilizador (2006-2009), receptor XM, indicador do sistema de imobilização
26 15 Unidade de controlo de fechadura de porta sem chave, solenóide de abertura da tampa da bagageira
27 10 Unidade de controlo de luz diurna contínua
28
Estafeta
R1 Indicador de direcção/perigo
R2 2000-2001 (hardtop): Vidro traseiro defogger
R3 Corte inicial
R4 Luzes de cauda

Compartimento do motor

Honda S2000 (1999-2009) - caixa de fusíveis

  1. Caixa de fusíveis №1
  2. Direcção assistida electrónica (EPS)
  3. 2002-2005: Relé do limpa pára-brisas intermitente
  4. Caixa de fusíveis №2
  5. 2006-2009: Relé do limpa pára-brisas intermitente
  6. ABS/VSA (2006-2009)) Unidade modulador-controlo
  7. 2000-2005: Relé de bomba de ar

Caixa de fusíveis do compartimento do motor №1 Diagrama

A caixa de fusíveis principal debaixo da capota está localizada no lado do passageiro ao lado da bateria. Para a abrir, carregar nas duas abas como se mostra.

Veja também:  Passaporte Honda (1998-2002) - caixa de fusíveis

Honda S2000 (1999-2009) - caixa de fusíveis

Honda S2000 (1999-2009) - caixa de fusíveis

Número Amps [A] Descrição
41 100 Bateria, distribuição de energia
42 40 Interruptor de ignição (BAT)
43 20 Farol direito (farol alto/farol de passagem), unidade de controlo de luz diurna contínua
44
45 20 Farol esquerdo (farol alto/farol de passagem), unidade de controlo de luz diurna contínua, unidade indicadora, indicador de feixe alto, relé de corte de feixe alto
46 15 Conector de ligação de dados (DLC), relé principal PGM-FI (2000-2005), sensor de posição da cambota (CKP) (2006-2009), sensor de posição da cambota (CMP) (2006-2009), módulo de controlo do motor (ECM (2006- 2009))
47 10 2000-2001: Módulo de controlo modulador ABS, luzes de travão, controlo de cruzeiro, módulo de controlo do motor (ECM), luz de travão de montagem alta, buzina
15 2002-2009: Modulador-controlador ABS (2002-2005), luzes de travão, controlo de cruzeiro (2002-2005), módulo de controlo do motor (ECM), luz de travão de montagem alta, buzina
48 20 2000-2005: Unidade de controlo modulador de ABS
30 2006-2009: Unidade modulador-controlo VSA
49 10 Luzes de emergência
50 30 2000-2005: Unidade de controlo modulador de ABS
30 2006-2009: Unidade modulador-controlo VSA
51 40 Rastilhos: № 17, 18
52 20 Motor superior descapotável direito
53 20 2008-2009: Relé de tomada de alimentação acessória
54 30 Rastilhos: № 22, 23, 24, 25, 26, 27
55 20 Motor superior esquerdo descapotável
56 40 Motor do ventilador
57 20 Motor do ventilador do radiador
58 20 Motor do ventilador do condensador A/C, embraiagem do compressor A/C
59 20 Rastilhos: № 14, 15, 16
Rastilho de reserva
Estafeta
R1 Farol direito
R2 Farol esquerdo
R3 Trompa
R4 Ventilador do condensador A/C
R5 Motor do ventilador
R6 Ventilador do radiador
R7 Embraiagem do compressor A/C

Caixa de fusíveis do compartimento do motor №2 Diagrama

A caixa de fusíveis adicional debaixo da capota está localizada no lado do condutor, perto do reservatório de fluido dos travões. Para a abrir, pressionar as abas de cada lado e retirar a tampa.

Veja também:  Honda Civic (2012) - caixa de fusíveis

Honda S2000 (1999-2009) - caixa de fusíveis

Número Amps [A] Descrição
32 60 2000-2005: Sensor de corrente eléctrica para bomba de ar
33 70 Direcção assistida electrónica (EPS)
34 20 Vidro traseiro defogger
35
36
Veja também:  Honda Odyssey RL5 (2011-2017) - caixa de fusíveis

Clara Serrano

Quão útil foi este post?

Clique numa estrela para o avaliar!

Avaliação média 0 / 5. Número de votos: 0

Nenhum voto até agora! Seja o primeiro a avaliar este post.

Sem comentários.

Deixe um comentário

O seu endereço de email não será publicado. Campos obrigatórios marcados com *